Quel est votre diagnostic ?
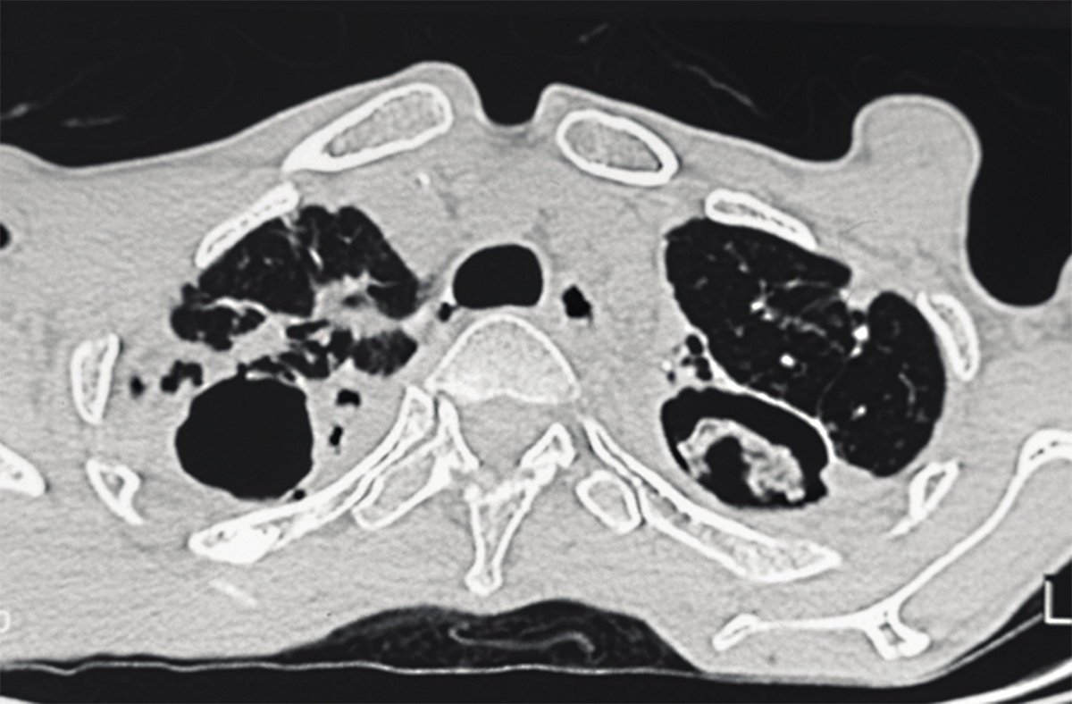
Il s'agit d'un aspergillome pulmonaire. L'aspergillome est un corps étranger d'origine fongique se développant dans une cavité préexistante naturelle (sinus) ou acquise (cavité secondaire à une tuberculose ou à une sarcoïdose).Il correspond à la prolifération d'Aspergillus dans une cavité pulmonaire préexistante, en l'absence de macrophages alvéolaires. C'est le cas des anciennes cavernes tuberculeuses, de la sarcoïdose, des bulles d'emphysème d'un infarctus pulmonaire ou encore d'un cancer excavé, qui peuvent être colonisés dès qu'ils sont ouverts dans les voies aériennes.L'aspergillome se manifeste par une hémoptysie, une toux, une altération de l'état général et un amaigrissement. L'aspect radiologique est le plus souvent typique : opacité dense, arrondie ou ovalaire, siégeant au sein d'une cavité. Cette masse, recouverte d'un croissant clair gazeux, peut être mobile aux changements de position, d'où l'appellation de "signe du grelot".Outre l'aspect radiologique typique, le diagnostic est confirmé par la sérologie. Son traitement curatif est chirurgical. Le traitement chirurgical idéal consiste en une résection anatomique emportant le mycétome et la cavité sous-jacente. Les candidats idéaux à une prise en charge chirurgicale sont les patients ayant un aspergillome unique et/ou des hémoptysies. Le geste de référence est la lobectomie car la segmentectomie expose à un risque accru de fuite aérienne prolongée. La pneumonectomie est associée à un risque élevée d'empyème, voire de fistule au niveau du moignon bronchique et doit être évitée. Chez les patients insuffisants respiratoires qui ne toléreraient pas une simple lobectomie, l'ouverture directe de la cavité pour réalisation d'une "truffectomie" donne de bons résultats.
Pour en savoir plus : - Pilmis B, Lortholary O, Lanternier F. Indications de la chirurgie dans le traitement des mycoses viscérales. Rev Prat 2015;65(10):1340-2. - Bourée P, Bisaro F. Aspergillose. Rev Prat 2008;58(9):933-8.

Exercez-vous aux ECN avec les dossiers progressifs et les LCA de La Revue du Praticien