Un patient de 56 ans, d’origine djiboutienne, consulte pour des douleurs dorsolombaires qu’il décrit comme mécaniques et se majorant depuis quelques mois. Il est en excellent état général et ne prend pas de traitement.
L’examen clinique est normal en dehors d’une déformation minime et indolore de la paroi thoracique antérieure gauche.
Le bilan biologique objective une élévation isolée de la phosphatase alcaline (PAL) à quatre fois la normale à l’exclusion de toute autre anomalie : électrophorèse des protides normale, absence de syndrome inflammatoire, hémogramme et bilan phosphocalcique normaux.
Les images IRM (fig. 1 et 2) du rachis montrent de multiples lésions vertébrales en hyposignal T1 et en hypersignal T2 hétérogène, atteignant à la fois les corps vertébraux et les arcs postérieurs. L’atteinte du rachis est ubiquitaire, prédominant en lombaire avec des zones lytiques et de signal liquidien.
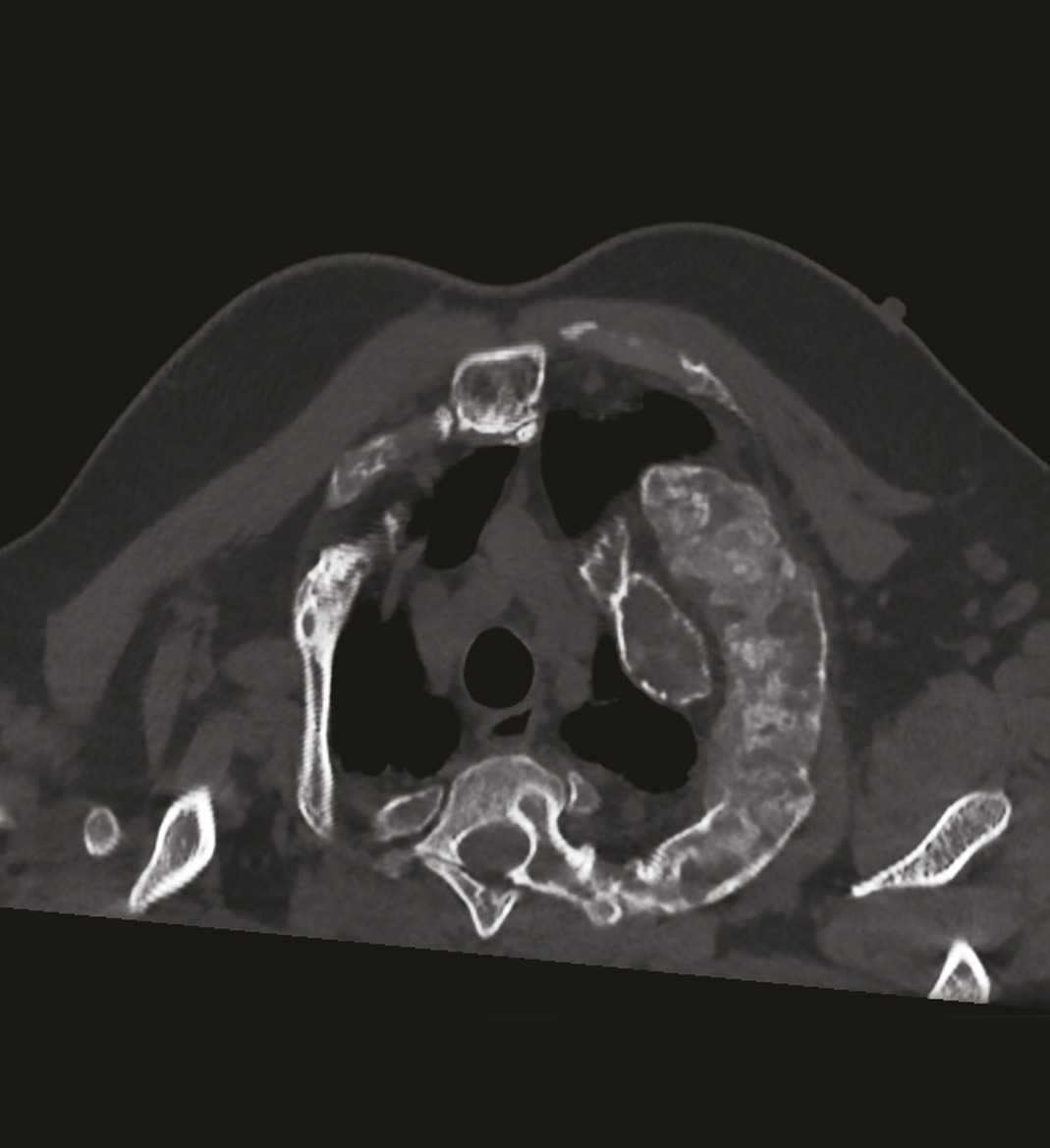
Les images de scanner (fig. 3-5) mettent en évidence de multiples lésions soufflantes avec un aspect en verre dépoli de l’os trabéculaire refoulant la corticale ainsi qu’une érosion marquée de la corticale, sans réaction périostée, confirmant une dysplasie fibreuse polyostotique prédominant au niveau des côtes et du rachis, sans sténose canalaire.

La dysplasie fibreuse des os est une maladie osseuse bénigne, congénitale mais non transmissible à la descendance, due à une mutation du gène GNAS, codant pour la protéine Gsα. Sa prévalence est inférieure à 1/2 000. La maladie est caractérisée par une prolifération bénigne, localisée, de tissu d’allure fibreuse dans la moelle osseuse.1 Une évolution sarcomateuse, bien que possible, est très exceptionnelle. Les lésions osseuses sont soit uniques (forme mono-ostotique, deux tiers des cas), soit multiples (forme poly­ostotique, comme ici, un tiers des cas). Elles sont fréquemment asymptomatiques, mais peuvent se manifester par des symptômes ou complications diverses : douleurs, déformations, hypertrophie, fragilisation (fissures, fractures) ou compression de structures de voisinage (atteintes ophtalmologiques, etc.).

Référence

1. Chapurlat RD, Orcel P. Fibrous dysplasia of bone and McCune-Albright syndrome. Best Practice & Research Clinical Rheumatology. 2008;22(1):55-69.

Une question, un commentaire ?